Exercise 9.11 Consider a rotor system as shown in Figure E9.11. Two flexible shafts are connected by a coupling (i.e., a pin joined). Other ends of shafts have fixed conditions. Formulate system governing equations for free transverse vibrations considering two elements. Obtain eigen value problem for the boundary condition mentioned. Take the length of each of the shaft as 0.5 m and the diameter as 0.05m. Young's modulus E = 2.1 (10)11N/m2 , and mass density of ρ = 7800 kg/m3. State the assumptions made. Use FEM.



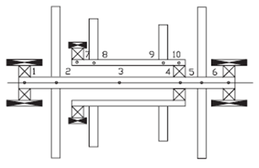
Exercise 9.13 The rotor In Fig. E9.13 is a typical twin-spool aero-engine rotor model, comprising lower pressure (LP) and high pressure (HP) spools rotating coaxially at different speeds with a speed ratio (HP/LP) of 1.5. Table E9.13 summarizes all the geometrical and physical parameters of the rotor bearing system. Obtain the critical speeds of such a rotor system with the help of Campbell diagram. For rotor

Fig. E9.13(a) A twin-spool aero-engine rotor model with LP rotor (elements 1-6) and
HP rotor (elements 7-10).
Table E9.13 Geometrical and physical properties of twin-spool aero-engine rotor model
(Shanmugam and Chandramouli, 2006)

Answers : (Shanmugam and Chandramouli, 2006)