Module 6 : Semiconductor Memories
Lecture 30 : SRAM and DRAM Peripherals
 
30.4 Another Type of Sensing
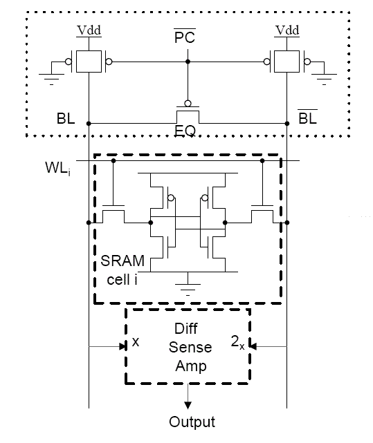
Figure 30.41 illustrates the SRAM sensing scheme.
 
diffsenssch
Fig 30.41: SRAM Sensing Scheme
 
In the above figure, pcbaris the signal used to precharge the bitand bitbar lines before every read operation. The transistor labelled EQ is the equalization transistor to ensure equal voltages on bitand bitbarlines after precharge. SE is the sense enable signal used to sense the voltage difference between the bitand bitbarlines.
 
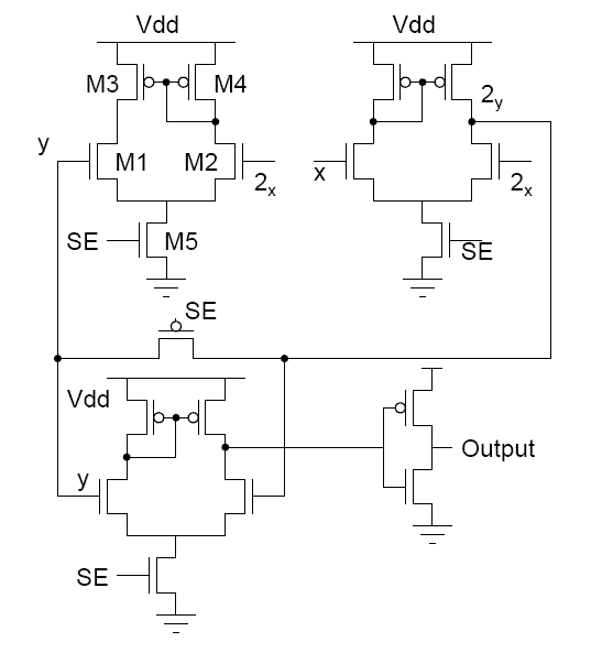
As mentioned earlier, the access time of the memory mainly depends on the performance of the sense amplifier. In contrast with the simple sense amplifier shown earlier, Figure 30.42 shows an amplifier which is somewhat complicated to improve the performance.
 
twostagediffamp
Fig 30.42: Two Stage Differential Amplifier
 
 
 
 
 
 
 
 
 
 
 
 
 
 
back
5
next