Module 7 : Introdution to Experimental Facilities

Lecture 37 : High Speed Testing Facilities

37.1 Introduction

Wind tunnels are designed for a specific purpose and speed regime. Therefore, there are different types of wind tunnels and several ways to classify wind tunnels. In this section we shall present some basics of these wind tunnels. Experimental facilities of supersonic and hypersonic flow speeds can be called high speed wind tunnels. In high speed flows it is essential to consider Mach number as a more appropriate parameter than velocity. For hypersonic flows, additional considerations should be taken for the chemical state of the gas. It is because of the fact that the influence of compressibility is significant. Wind tunnels with Mach number range from 1 to 5 are classified as supersonic tunnels and those with Mach number more than 5 are termed as hypersonic tunnels.
37.2 Classification of Wind Tunnels:

       On the basis of loop under construction the wind tunnels can be classified into two broad categories as open circuit wind tunnel and closed circuit wind tunnel as shown in Fig. 37.1.
      
.

Fig. 37.1. Broad classification of wind tunnel.

A high speed wind tunnels may be of open circuit type which draw air from outside atomsphere. Wind tunnels of closed circuit type re-circulate the inside air. Higher construction cost is one of the disadvantages of the closed circuit wind tunnel. These tunnels are generally used for continuous or long testi durations. However, power required to run a supersonic wind tunnel is enormous and is proportional to the cube of the velocity. For this reason high speed wind tunnels of continuous running type are not generally prefered. Hence most of them operate intermittently either using high pressure tanks or vacuum tanks. The wind tunnels which use high pressure reservoirs are called as intermittent supersonic blowdown wind tunnels. Another way of achieving the huge power output is with the use of a vacuum storage tank. These tunnels are called Indraft or Induction supersonic wind tunnels.Following tree (Fig. 37.2) shows the types of intermittent wind tunnels.

Fig. 37.2 Types of intermittent wind tunnels.

 

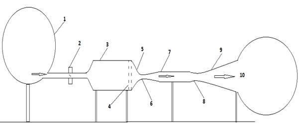
37.3 Blow down wind tunnel.


Fig. 37.3 Schematic of Blow Down tunnel.