Next
Previous

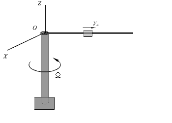
General 3-D Motion

The relative velocity of A is