Next
Previous

General 3-D Motion

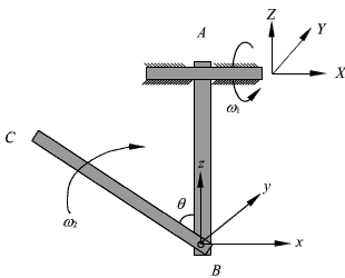
An example: Consider the following figure. Link 1 is pinned on the frame and rotates with angular speed about axis X. Link 2 is pinned at link 1 at point B. Link 2 has the angular speed . The y-axis is perpendicular to the plane of your screen.

Let us fix the axis system xyz on the link 2. The axis system xyz remains parallel to XYZ.